最新!武汉多家房企被扣信用分,8家房企被扣20分
扫描到手机,新闻随时看
扫一扫,用手机看文章
更加方便分享给朋友
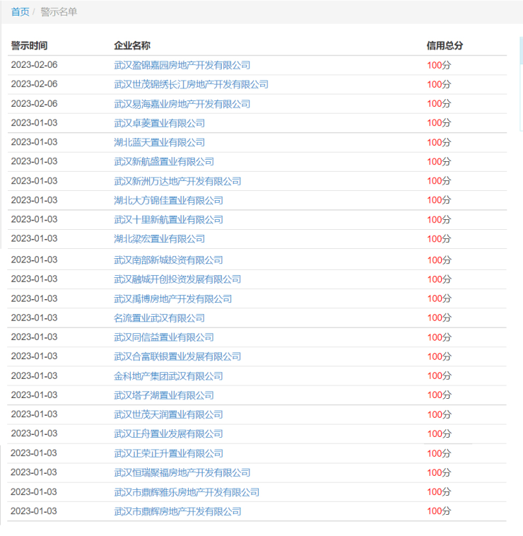
2月13日消息,搜狐焦点获悉,自2023年开始,目前已经有18条武汉房企信用扣分记录。据武汉市住房保障和房屋管理局官网公示的房地产开发企业不良信用信息记录显示:


2023年武汉多家房企被扣20分,涉及:
“未协助购房人将房价款按规定存入资金监管账户,经监管部门责令整改,逾期不改正的”。
还有其他扣分企业涉及:
“未按照已报备的商品房预(销)售方案销售商品房的”;
“未按规定及时办理预签约信息锁定、购房资格核查资料上报、商品房买卖合同网上签约及备案手续的”;
“擅自向购房人转让未竣工项目车库、车位的”;
“未依法缴存住宅专项维修资金的”等等。

据了解,为加快推进全市房地产开发企业信用体系建设,规范房地产市场秩序,营造诚实守信的市场环境,促进房地产市场持续、平稳、健康发展。
2022年2月1日,《武汉市房地产开发企业信用监管办法》施行,有效期5年。违规企业该扣分的扣分,该约谈的约谈,该处罚的处罚。稳住楼市环境,才能更好的“增信心、防风险”。
武汉房企信用记分标准增加18项
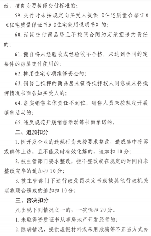
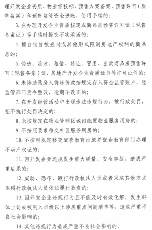
与武汉市房管局2019年实施的《武汉市房地产开发企业信用信息管理办法》相比,开发企业信用信息记分标准由五个等级减少到四个,最低扣分从1分提高到2分。在所列举的信用信息扣分情形中,四个等级共有65项,也比2019年的47项多出18项。
如:取得商品房预售许可证后收取预定款、定金、房价款等,未就款项性质、金额、违约责任与买受人进行书面约定的;
未按规定在销售现场公示商品房价目表、车位(库)规划配建情况、室内外交付标准以及用地规划范围内对居民生活、房屋使用有重大影响的事项的;
商品房交付前,未按规定制定交付方案或未按要求公示交付方案、竣工验收文件、测绘成果证明等资料的。

2021年以来,不少商品房不能如期交付,新的信用信息记分标准规定,出现这种情况,未按规定提前30日书面告知买受人的,将扣3分。
与此同时,针对购房者与开发企业容易引发的交易纠纷,新的信用信息记分标准也纳入监管。值得一提的是,不少开发商过去销售中利用教育资源吸引购房者,此次也作出明确规定。
以学区房等名义炒作房价,在商品房项目推广中宣传或使用尚在规划或建设中的学校名称、形象标志等与学校有关的内容,以及使用“名校”“学位房”“学府房”“指标房”等违反义务教育公平原则相关词语,误导购房人市场预期的,将扣除开发企业5分。
纳入“警示名单”的
暂缓受理预售许可申请
根据《武汉市房地产开发企业信用监管办法》规定,第十六条开发企业信用信息管理实行“警示名单”管理制度,开发企业信用得分低于75分,或一年内同类违法违规行为出现3次及以上、有其他严重失信行为给社会造成重大不良影响的,纳入“警示名单”。
信用得分不低于90分的开发企业可享受法律、法规及有关文件规定的相关政策支持。针对纳入“警示名单”的开发企业,由武汉市房管部门约谈开发企业负责人,暂缓受理开发企业新建房地产项目预售许可申请,
并向市信用平台上传开发企业失信行为警示信息,由武汉市信用平台按规定向相关部门和社会公众发出警示。
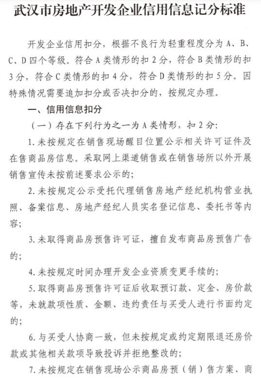
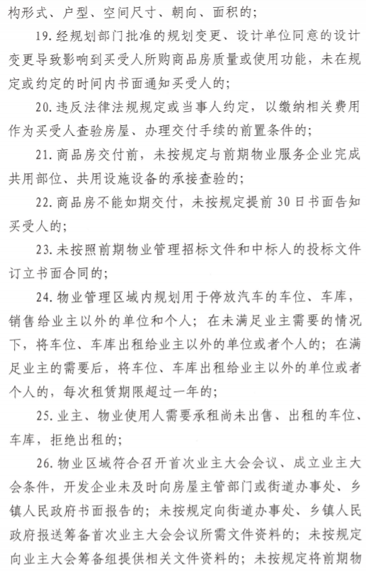
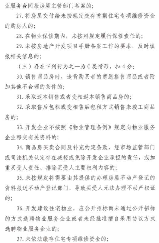
具体记分标准








新闻来源:武汉市住房保障管理局
声明:本文由入驻焦点开放平台的作者撰写,除焦点官方账号外,观点仅代表作者本人,不代表焦点立场。


